2025届
2024届
2023届
2022届
建筑学院
土木学院
环境学院
建科学院
材料学院
管理学院
机电学院
冶金学院
信控学院
艺术学院
理学院
文学院
资源学院
公管学院
化工学院
体育学院
城交院
安德学院
建筑学院
土木学院
环境学院
建科学院
材料学院
管理学院
机电学院
冶金学院
信控学院
艺术学院
理学院
文学院
资源学院
公管学院
化工学院
体育学院
城交院
安德学院
城交院
当前位置:
首页
>>
2025届
>>
城交院
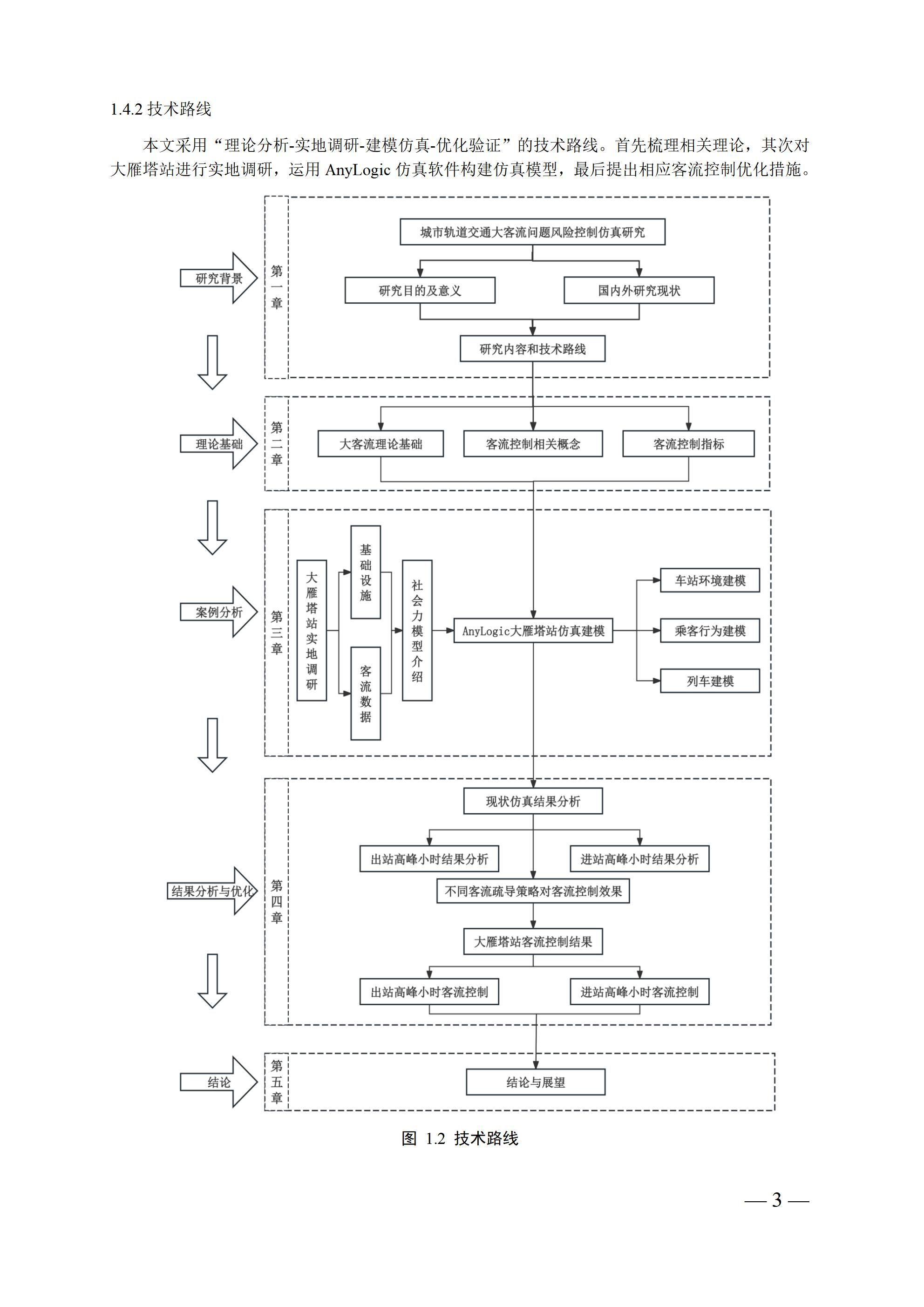
城市轨道交通大客流问题风险控制仿真研究
学生姓名: 李唯希 指导教师:
雷斌
上一条:某煤化工项目总图运输设计之一